
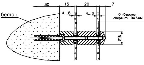
Дистанционный держатель на 2 таблички с коническим винтом, латунь, L=15 и 20 мм D=16 мм, S=4-6 мм, матированный никель
Цена по запросу шт
Артикул: 00000089980
Посмотреть все товары группыНет в наличии
Дистанционный держатель на 2 таблички с коническим винтом, L=15 и 20 мм; D=16 мм; S=4-6 (8) мм.

Цвет: матированный никель.
Поделиться:
